Очистка и обеззараживание воды – актуальная задача современности
Вода – это основа жизни на Земле. Она питает и поддерживает все живое. Однако в современном мире, где темпы индустриализации и урбанизации неуклонно растут, качество воды становится все более серьезной проблемой. То, что когда-то было чистым и нетронутым водным источником, сегодня зачастую представляет собой коктейль из загрязнителей, вирусов и бактерий, угрожающих здоровью и благополучию человека. Сегодня актуальность очистки и обеззараживания воды достигла максимальной точки, и это не просто вопрос комфорта, а жизненная необходимость, требующая незамедлительных и комплексных решений.
Современные водные источники подвергаются беспрецедентному давлению со стороны человеческой деятельности. Реки, озера, подземные воды – все они страдают от:промышленных и сельскохозяйственных отходов, бытовых сточных вод, выброшенного пластика, а также бактерий и вирусов.
Употребление неочищенной или недостаточно очищенной воды приводит к серьезным последствиям для здоровья человека. От острых кишечных инфекций до хронических заболеваний, связанных с накоплением токсинов в организме – спектр угроз широк. Особенно уязвимы дети, пожилые люди и люди с ослабленным иммунитетом.
Помимо прямых угроз здоровью, загрязнение воды наносит колоссальный экономический ущерб. Затраты на лечение заболеваний, вызванных некачественной водой, потери в сельском хозяйстве и рыболовстве, снижение туристической привлекательности регионов – все это ложится тяжелым бременем на бюджеты государств и отдельных граждан.
Поэтому очистка и обеззараживание воды является государственной задачей.
Очевидно, что проблема загрязнения воды не может быть решена усилиями отдельных граждан или даже отдельных предприятий. Это задача государственного масштаба, требующая комплексного и системного подхода. Однако и от отдельных граждан многое зависит.
Город Электросталь, - один из центров Российских инноваций. В том числе и инноваций в области очистки и обеззараживания воды.
Ниже приводится изобретение, описывающее новое устройство для очистки и обеззараживания воды
Это изобретение относится к устройствам для очистки воды безреагентным способом и может быть применено для очистки, обеззараживания и устранения посторонних запахов в воде, находящейся в бассейнах и водоемах, а также используемой в поликлиниках и больницах, на предприятиях общественного питания, в детских учреждениях и для бытовых нужд населения.
Известно устройство для обеззараживания воды (Евразийский патент 034112, опубл. 27.12.2019), содержащее рабочую камеру цилиндрической формы, и во внутренней части рабочей камеры установлен отражатель в виде параболоида ицилиндрический электрод, выполненный с возможностью регулировки величины рабочей области между отражателем и электродом.
Признак, совпадающий с признаком изобретения: устройство для обеззараживания воды.
Недостатком данного устройства является низкая эффективность очистки воды от вирусов и бактерий.
Прототипом (ближайшим аналогом) является устройство для очистки и обеззараживания воды (Патент РФ 220617, опубл. 26.09.2023).
Признаки прототипа, совпадающие с признаками изобретения:
Устройство для очистки и обеззараживания воды, выполненное в виде вихревого кавитатора, содержащего вихревые каналы и каждый вихревой канал содержит вход для подачи в него воды и выход, соединенный с общей расширительной камерой; причем каждый вихревой канал выполнен с возможностью формирования в нем завихренного потока;
и устройство для очистки и обеззараживания воды содержит 3 вихревых канала с общим для всех вихревых каналов направлением завихрения.
И в каждом вихревом канале поток воды движется под действием центробежной силы.
Недостатком данного устройства является то, что процесс очистки воды от бактерий и других загрязнений требует относительно большого количества времени.
Раскрытие сущности изобретения.
Целью изобретения является повышение эффективности очистки воды.
Цель изобретения достигается за счет того, что устройство для очистки и обеззараживания воды выполнено в виде вихревого кавитатора, содержащего вихревые каналы и каждый вихревой канал содержит вход для подачи в него воды и выход, соединенный с общей расширительной камерой; причем каждый вихревой канал выполнен с возможностью формирования в нем завихренного потока;
и устройство для очистки и обеззараживания воды содержит 3 вихревых канала с общим для всех вихревых каналов направлением завихрения,
и от прототипа отличается тем, что
каждый вихревой канал выполнен с монотонно уменьшающимся проходным сечением по длине канала в направлении от входа – к выходу, при этом площадь проходного сечения канала на входе больше площади проходного сечения канала на выходе в 10 – 22 раза;
и нейтральная линия каждого вихревого канала выполнена в виде змеевика конусообразной формы с большим диаметром
входного витка
змеевика на входе вихревого канала и меньшим диаметром
выходного витка
змеевика на выходе вихревого канала,
при этом диаметр змеевика на входе вихревого канала больше диаметра змеевика на выходе вихревого канала в 1.5 – 5 раз, при этом, количество полных витков в змеевике от 5 до 15;
и соединение выходов вихревых каналов с общей расширительной камерой выполнено таким образом, чтобы при работе устройства вихревые потоки воды из вихревых каналов сталкиваются в одной точке на расстоянии L от выходного среза каждого вихревого канала,
и L определяют по эмпирической зависимости:
L = кD,
где к, - коэффициент, принимающий значение от 5 до 10;
D – диаметр проходного сечения вихревого канала на входе в общую расширительную камеру;
и в каждом вихревом канале при работе устройства для очистки и обеззараживания воды, вода совершает движение, ускорение которого центростремительное.
В частном варианте реализации изобретения, устройство для очистки и обеззараживания воды выполнено с возможностью генерации при работе ультразвуковой и гидродинамической кавитации с частотами от 85 до 90 кГц.
В частном варианте реализации изобретения, устройство для очистки и обеззараживания воды выполнено с возможностью генерации при работе ультразвуковой и гидродинамической кавитации с частотами от 90 до 100 кГц.
В частном варианте реализации изобретения, устройство для очистки и обеззараживания воды выполнено с возможностью генерации при работе ультразвуковой и гидродинамической кавитации с частотами от 100 до 130 кГц.
В частном варианте реализации изобретения, устройство для очистки и обеззараживания воды выполнено с возможностью генерации при работе ультразвуковой и гидродинамической кавитации с частотами от 130 до 150 кГц.
При этом, устройство для очистки и обеззараживания воды выполнено с возможностью получения в воде перекиси водорода на частотах от 85 до 150 кГц.
Авторы считают, что это наилучшие частоты для сонолиза и кавитационной обработки воды.
Техническим результатом является повышение качества и эффективности очистки воды, за счет использования синергетического эффекта от совместного воздействия на воду ультразвуковой кавитации с частотой
от 85 кГц до 150 кГц; сонолиза, образующегося при ультразвуковой кавитации с частотой от 85 кГц до 150 кГц и гидродинамической кавитации.
При гидродинамической и ультразвуковой кавитации в областях потока с пониженным давлением образуются паровые пузырьки, а в областях повышенного давления паровые пузырьки схлопываются. В областях схлопывания наблюдается повышение температуры и давления, что приводит к разрушению клеточных стенок микроорганизмов, - вирусов, бактерий и спор.
Области потока с пониженным давлением образуются в последних витках каждого вихревого канала на его выходе. В этих витках скорость потока максимальна, а давление снижается до давления насыщенного пара, где и образуются паровые пузырьки.
Области потока с повышенным давлением образуются в общей расширительной камере после выхода потоков воды из вихревых каналов, где потоки тормозятся и сталкиваются.
При сонолизе образуется перекись водорода в воде — молекулы воды диссоциируют на атомарный водород и гидроксил-радикал, с последующим образованием молекулярного водорода и перекиси водорода.
Перекись водорода (пероксид водорода, диоксид водорода) обладает антисептическими свойствами и эффективно уничтожает вирусы и бактерии.
Краткое описание чертежей.


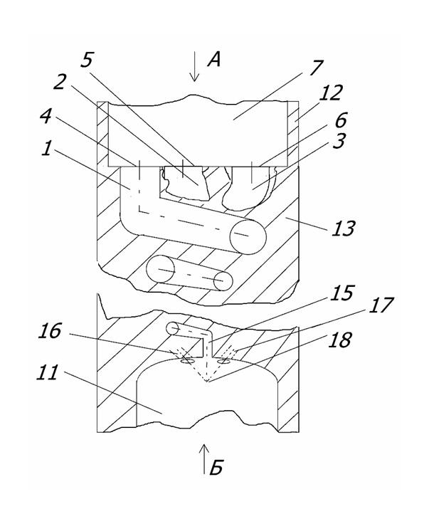
На фиг. 1 представлена схема предлагаемого устройства для очистки и обеззараживания воды.


На фиг. 2 представлен Вид А. Вход в вихревые каналы.


На фиг. 3 представлен Вид Б. Выход из вихревых каналов.


На фиг. 4 представлен вихревой канал.


На фиг. 5 представлено соединение выходов вихревых каналов с общей расширительной камерой, а также показано место столкновения вихрей в общей расширительной камере.


На фиг. 6 представлена схема вращения трех вихрей в общей расширительной камере.


На фиг. 7 показана фотография трёх вихревых каналов, соединенных с общей расширительной камерой. Фотография сделана камерой смартфона Samsung s22 ultra, посредством программы: Компас 3d v23. Для изготовления вихревого кавитатора применили принтер: Phrozen, модель - sonicmega 8k.
Осуществление изобретения.
Устройство для очистки и обеззараживания воды (см. фиг. 1) Устройство выполнено в виде вихревого кавитатора, содержащего вихревые каналы 1, 2 и 3.Вихревые каналы содержат входы 4, 5 и 6 для подачи в него воды из трубопровода 7. Трубопровод содержит стенку 12.
Также вихревые каналы содержат выходы 8, 9 и 10в общую расширительную камеру 11. Общая расширительная камера содержит стенку 14. Конечные участки вихревых каналов обозначены позициями 15, 16 и 17.
В частном случае реализации изобретения вихревые каналы выполнены в монолитном корпусе 13 из пластмассы посредством 3D принтера.
Также вихревые каналы могут быть выполнены, например, в виде трёх переплетенных сужающихся труб из нержавеющей стали.
Каждый вихревой канал выполнен с возможностью формирования в нем завихренного потока.
Устройство для очистки и обеззараживания воды содержит 3 вихревых канала с общим для всех вихревых каналов направлением завихрения.
Каналы выполнены с возможностью формирования потоков воды с общим для всех потоков воды направлением завихрения.
На фиг.6 показаны три вихревых потока 19, 20 и 21, вышедшие из вихревых каналов в общую расширительную камеру. Все три вихря в местах соприкосновения имеют противоположное направление движения воды. В точке 22 (см. фиг. Фиг.5) они соединяются и максимально тормозятся.
Каждый вихревой канал выполнен с монотонно уменьшающимся проходным сечением по длине канала в направлении от входа – к выходу. Диаметр проходного сечения вихревого канала 23 на входе больше диаметра проходного сечения вихревого канала 24 на выходе.
Или, другими словами, - каждый вихревой канал выполнен монотонно сужающимся по своей длине от входа до выхода из канала.
При этом площадь проходного сечения канала на входе больше площади проходного сечения канала на выходе в 10 – 22 раза.
При разработке заявки на изобретения были реализованы следующие отношения площадей проходных сечений на входе и выходе:
Площадь проходного сечения канала на входе больше площади проходного сечения канала на выходе в 10 раз.
Площадь проходного сечения канала на входе больше площади проходного сечения канала на выходе в 15 раз.
Площадь проходного сечения канала на входе больше площади проходного сечения канала на выходе в 17 раз.
Площадь проходного сечения канала на входе больше площади проходного сечения канала на выходе в 20 раз.
Площадь проходного сечения канала на входе больше площади проходного сечения канала на выходе в 21 раз.
Площадь проходного сечения канала на входе больше площади проходного сечения канала на выходе в 22 раз.
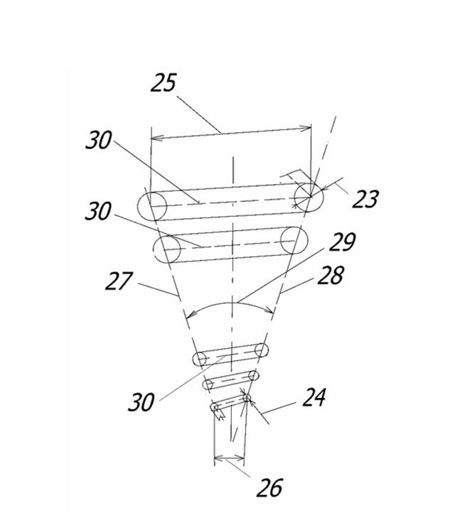
Нейтральная линия каждого вихревого канала выполнена в виде змеевика конусообразной формы. Касательные к нейтральным линиям обозначены позициями 27 и 28. Угол между касательными, расположенными в одной плоскости, обозначен позицией 29.
Нейтральная линия каждого вихревого канала выполнена в виде змеевика конусообразной формы с большим диаметромвходного витка 25 змеевика на входе вихревого канала и меньшим диаметром 26 выходного витказмеевика на выходе вихревого канала.
При этом диаметр змеевика на входе вихревого канала больше диаметра змеевика на выходе вихревого канала в 1.5 – 5 раз, при этом, количество полных витков в змеевике от 3 до 9.
При разработке заявки на изобретения были изготовлены вихревые кавитаторы с количество полных витков в змеевике: 3, 5, 7 и 9.
Соединение выходов вихревых каналов с общей расширительной камерой выполнено таким образом, чтобы при работе устройства вихревые потоки воды из вихревых каналов сталкиваются в одной точке22 (см. фиг.5) на расстоянии 31 (расстояние L) от выходного среза каждого вихревого канала.
И расстояние L определяют по эмпирической зависимости:
L = кD,
где к, - коэффициент, принимающий значение от 5 до 10;
D – диаметр проходного сечения вихревого канала на входе в общую расширительную камеру.
На фиг. 5 позициями обозначены:
22 – точка столкновения вихревых потоков воды;
32 – вихревой канал на входе в общую расширительную камеру;
33 – вихревой канал на входе в общую расширительную камеру;
34- общая расширительная камера;
35 – ось вихревого потока воды, вышедшего из вихревого канала 33;
36 – ось вихревого потока воды, вышедшего из вихревого канала 32;
37 - диаметр проходного сечения вихревого канала 32 на входе в общую расширительную камеру 34.
Как вариант, каждый вихревой канал может быть описан следующим образом:
Каждый вихревой канал выполнен в виде логарифмической спирали с возможностью формирования в нем завихренного потока с центростремительным ускорением движения воды от периферии к центру, за счет логарифмического профиля трубы: (В полярных координатах кривая может быть записана как: где Ɵ – угол отклонения точки от нуля, 𝒓 – радиус-вектор точки, 𝒂 – коэффициент, отвечающий за расстояние между витками, 𝒃 – коэффициент, отвечающий за частоту витков. В параметрической форме: где 𝒕 – аналог Ɵ в выражении в полярных координатах.
Ɵ = 𝟏𝒃𝒍𝒏(𝒓𝒂) 𝒙(𝒕) = 𝒓𝒄𝒐𝒔(𝒕) = 𝒂𝒆𝒃𝒕𝒄𝒐𝒔(𝒕) 𝒚(𝒕) = 𝒓𝒔𝒊𝒏(𝒕) = 𝒂𝒆𝒃𝒕𝒔𝒊𝒏(𝒕)).
У прототипа, в вихревом канале поток воды движется под действием центробежной силы.
Устройство работает следующим образом.
Вода подается из трубопровода 7 в вихревые каналы 1, 2 и 3 кавитатора с напором, составляющим от 3,0⋅105 до 6,0⋅105 Па (по нормативу Постановления Правительства РФ от 06.05.2011 №354).
На выходе из вихревых каналов, – в общей вихревой камере, - смесь воды и пара сталкиваются в общей расширительной камере в точке 22, где осуществляется ультразвуковая и гидродинамическая кавитационная обработка воды. Паровые пузырьки, образовавшиеся в воде, схлопываются с образованием центров высокого давления и высокой температуры, что обеспечивает полное уничтожение бактерий и других болезнетворных микроорганизмов.
Расстояние 31 точки 22 от выходов вихревых каналов обеспечивает не разрушение стенок общей расширительной камеры ударными волнами от схлопывающихся паровых пузырьков.
Подробнее механизм очистки и обеззараживания воды может быть описан следующим образом.
В областях потока с пониженным давлением образуются паровые пузырьки, а в областях повышенного давления паровые пузырьки схлопываются. В областях схлопывания наблюдается повышение температуры и давления (гидродинамическая и ультразвуковая кавитации), что приводит к разрушению клеточных стенок микроорганизмов, - вирусов, бактерий и спор.
Области потока с пониженным давлением образуются в последних витках каждого вихревого канала на его выходе. В этих витках скорость потока максимальна, а давление снижается до давления насыщенного пара, где и образуются паровые пузырьки.
Области потока с повышенным давлением образуются в общей расширительной камере после выхода потоков воды из вихревых каналов, где потоки расширяясь тормозятся и сталкиваются.
Эксперименты показали, что в устройстве наблюдается ультразвуковая и гидродинамическая кавитации с частотой от 85 кГц до 150 кГц.
При кавитации с частотой от 85 кГц до 150 кГц образуется сонолиз.
При сонолизе образуется перекись водорода в воде — молекулы воды диссоциируют на атомарный водород и гидроксил-радикал, с последующим образованием молекулярного водорода и перекиси водорода.
Перекись водорода (пероксид водорода, диоксид водорода) обладает антисептическими свойствами и эффективно уничтожает вирусы, бактерии и др.
Как вариант (проверено экспериментально), вода совместно с воздухом, подаются из трубопровода 7 в вихревые каналы 1, 2 и 3 кавитатора. Воздух при этом подают в поток воды, движущийся по трубопроводу 7.
Содержание воздуха в смеси воды и воздуха (по массе) составляет от 0.0001% до 0.003%.
Примерысравнительных экспериментов заявленного устройства с прототипом.
Для эксперимента в качестве тест-микроорганизмов была использования культура E.coli (1257) +40% лошадиной сыворотки (как у прототипа). Фактическое количество клеток кишечной палочки в 1 мл приготовленной суспензии составило 8,5×108. Лошадиная сыворотка выполняла роль защиты культуры от внешнего воздействия. Суспензию выливали в воду. В 10 литрах воды содержалось 8,5×108 ед. бактерий.
В устройство для очистки и обеззараживания воды подавали зараженную воду подавали насосом мощностью 3 кВт, с расходом воды 1200 л/час.
Давление в трубопроводе на входе в вихревые каналы составляло величину 3,0⋅105 Па. В процессе очистки воды контролировали давление в гидравлической магистрали на входе и выходе вихревого кавитатора, частоту колебаний, температуру.
В ходе эксперимента установлено, что полное уничтожение бактерий достигалось за 30-40 секунд работы устройства (у прототипа – за 60 секунд). В воде не были обнаружены следы бактерий.
При давлении в трубопроводе на входе в вихревые каналы равном 4,0⋅105 Па, полное уничтожение бактерий достигалось за 25-30 секунд работы устройства.
При давлении в трубопроводе на входе в вихревые каналы равном 6,0⋅105 Па, полное уничтожение бактерий достигалось за 20-25 секунд работы устройства.
Таким образом, достигнуто повышение эффективности очистки воды.
Обеспечено повышение качества и эффективности очистки воды, за счет использования синергетического эффекта от совместного воздействия на воду ультразвуковой кавитации с частотой от 85 кГц до 150 кГц; сонолиза, образующегося при ультразвуковой кавитации с частотой от 85 кГц до 150 кГц и гидродинамической кавитации.
В заключении авторы хотят сказать следующее:
Очистка и обеззараживание воды – это не просто технический процесс, это инвестиция в здоровье нации, в экономическое процветание и в сохранение нашей планеты для будущих поколений. Игнорирование этой проблемы сегодня приведет к гораздо более серьезным последствиям завтра. Каждый из нас несет ответственность за сохранение этого бесценного ресурса.
Обеспечение доступа к чистой и безопасной воде – это не только вопрос общественного здравоохранения, но и фундаментальное право каждого человека. Это основа не только для развития общества, но и для сохранения жизни на Земле. Поэтому актуальность очистки и обеззараживания воды будет только возрастать, и только совместными, целенаправленными усилиями мы сможем обеспечить нашим детям и внукам доступ к этому жизненно важному ресурсу. Это наша общая задача, и от ее решения зависит наше общее будущее.
Авторы изобретения и статьи:
Алексей Бахтин и Игорь Доронин
Дата публикации в сети Интернет 16 февраля 2026 года

POWER Full 14
POWER Full 14

POWER Full 14
POWER Full 14
Оставляя заявку, вы соглашаетесь на обработку персональных данных и с условиями бронирования счёта